油色譜分析儀主要配置說明:油色譜分析儀氣體流量控製係統
1.5.1油色譜分析儀氣體流量控製係統簡述
色譜分析儀的氣路控製係統可配置如下:
☆ 機械閥、指針式壓力表氣路係統;
☆ 機械閥、電子壓力及流量氣路係統(選配);
☆ 部分機械閥、部分電子壓力及流量控製氣路係統(選配);
☆ 全電子壓力及流量控製氣路係統(選配)
載氣流路:

載氣通過管道過濾器,由上遊穩壓閥提供穩定的輸入氣壓(出廠時調至約0.35MPa),經三通分為雙氣路,一路供給壓力保護部件,實現斷氣後係統保護;另一路載氣分別經過穩流閥(或EPC、EFC模塊)進行調節載氣流量,進入進樣器Ⅰ、Ⅱ。
氫氣流路:
氫氣通過管道過濾器,經三通分為雙氣路,雙路氫氣分別經過穩壓閥(或EPC、EFC模塊)和氣阻調節氫氣流量,若使用毛細管柱再並入尾吹氣(載氣),然後分別進入檢測器。
空氣流路: 儀器流程圖
空氣通過管道過濾器,經三通分為雙氣路,雙路空氣分別經過穩壓閥(或EPC、EFC模塊)和氣阻調節空氣流量,進入檢測器。
儀器流程圖如右圖示:
警告1: 載氣初始穩壓閥(在主機內部) 出廠時已經過嚴格調試,不要自行改變氣路穩壓閥的輸出壓力,以免影響控製輸出精度!
警告2: 氣路調節穩壓閥、穩流閥和針型閥旋鈕關閉時不宜旋到底,以免造成閥件損壞!
1.5.1.2油色譜分析儀電子氣體壓力、流量測量係統(選配)
當采用機械閥(穩流閥、穩壓閥)進行氣體的流量、壓力控製時可采用傳統的壓力表測量方式,亦可采用電子氣體壓力、流量測量係統,可以實時顯示氣體的流量,方便使用。
當采用選配全電子氣體壓力、流量測量係統時,需要配置電子氣體壓力、流量測量模塊。該模塊采用了具有溫度補償的高品質壓力傳感器、流量傳感器及高分辨率的數字電路設計製造,測量準確、性能穩定,同時內部集成了多種氣體的壓力--流量計算算法(毛細管載氣控製),可使氣體壓力、流量一目了然。
1.5.1.3 油色譜分析儀EPC、EFC控製係統(選配)
EPC、EFC控製係統是采用高精度的比例閥、壓力傳感器、流量傳感器而設計製造的氣體微流量控製係統。相比於傳統的機械閥控製方式,大大提高了氣體的壓力、流量控製精度,提高了儀器的自動化水平,消除了傳統的機械閥無法溫度補償的不足,從而提高了儀器的整體性能。
可搭載單路或三路EPC、EFC控製模塊。儀器最多可配置24路氣體壓力、流量控製。
EPC、EFC控製模塊的操作全部於儀器鍵盤或選配專用工作站上實現。
1.5.2色譜柱箱
色譜分析儀的柱箱容積大,可方便安裝填充柱或毛細管柱;內置大功率加熱絲並具有後開門結構,使升/降溫速度大為提高;柱箱控溫保護采用雙重保護(見鍵盤設定部分),以確保色譜柱的安全;柱箱加熱絲隱藏在網板後麵,以避免熱輻射引起彈性石英毛細管柱的峰形分裂。
柱箱采用低噪聲電機及優質不鏽鋼風頁,加速柱箱內溫度平衡,儀器運行平穩且機器震動小。
1.5.3油色譜分析儀進樣器
色譜分析儀的進樣器安裝在柱箱頂部左前側,其結構如下圖所示。由微機控製器設置並控製其溫度。進樣器的最上部是一個散熱帽,散熱帽的下部嵌裝有矽橡膠進樣墊。進樣器的載氣進口和氣路控製係統中的穩流閥輸出口相連接。

色譜分析儀填充柱進樣器結構示意圖
注:
1.色譜分析儀可配備多個進樣器,可以同時安裝多根填充色譜柱。
2.色譜分析儀的進樣器可以直接安裝外徑為Φ3、Φ4mm的填充柱。
3.色譜分析儀的進樣器亦可通過安裝不分流襯管,組成不分流進樣器,這樣色譜分析儀的進樣器就可安裝各種不同口徑的不鏽鋼、玻璃或柔性石英毛細管柱。
4.色譜分析儀可以安裝專用的毛細管隔膜吹掃分流進樣器來實現毛細管分流/不分流進樣。如下圖所示。

色譜分析儀毛細管進樣器結構示意圖
注:從示意圖看出,毛細管進樣器比填充柱進樣器多出一路分流氣路,其他結構大致相同,即填充柱進樣器也具備隔膜吹掃功能。
1.5.4油色譜分析儀熱導池檢測器(TCD)
色譜分析儀可配備熱導檢測器(TCD)。TCD檢測器結構如下圖所示。
TCD檢測器結構示意圖
1 外殼蓋 2 上蓋 3 TCD盒 4 TCD檢測器 5 導熱體 6 底座 7 螺釘 8 壓片 9 感溫元件 10 加熱器件 11 螺母 12 石棉墊片 13 池體
14 螺母 15 墊圈 16 熱敏元件 17 保溫棉
其結構及工作原理是:在一個導熱體中加工四個對稱的腔室,每個腔室中各放一個熱敏元件。其中,兩個腔室是測量池,另外兩個是參比池。測量池和參比池內的熱敏元件組成了惠斯登電橋的四個臂。該電橋接入熱導池檢測器信號處理板以控製電橋的工作及信號的輸出。在熱導池檢測器內還裝有加熱器件和感溫元件,與溫度控製係統相接以控製其所需溫度。
TCD參比池僅通過載氣,從色譜柱流出的組份同載氣一起進入測量池。當參比池和測量池隻流過載氣時,同一氣體其導熱係數相同,此時電橋平衡,儀器輸出基線信號至工作站;當進樣後,樣品被分離,由載氣攜帶進入測量池,由於載氣的導熱係數和組份的導熱係數不同,造成電橋的平衡被破壞,儀器將此差值信號輸出至工作站。
1.5.5油色譜分析儀氫火焰離子化檢測器(FID)
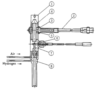
FID檢測器屬於質量型檢測器,不僅具有靈敏度高、線形範圍寬的特點,而且對操作條件變化相對不敏感,穩定性好。特別適合做常量或微量的常規分析,因為響應快所以與毛細管分析技術配合使用可完成痕量的快速分析,是色譜分析儀器中應用最廣泛的檢測器之一。色譜分析儀可配備兩個獨立的氫火焰離子化檢測器。下圖為FID檢測器結構示意圖。
FID檢測器結構示意圖
1 防塵帽 2 信號線 3 壓板 4收集極
5絕緣片 6 極化電壓 7 噴嘴 8 離子室底座
FID檢測器置於主機的頂部前端。其基座安裝在一個導熱體內,該導熱體同時還裝有加熱元件和感溫元件,與溫度控製係統相接以控製其加熱溫度。極化極接至FID放大器高壓輸出。收集極輸出信號是通過低噪聲電纜線與FID微電流放大器相連。氫氣和空氣由不鏽鋼管從主機側方的氣路控製係統接入。
火焰離子化檢測器的原理是:被測樣品在氫火焰中燃燒,產生離子流,在極化電場的作用下使正負離子定向移動,到達收集極從而產生了微弱的電流信號,經過微電流放大器放大、處理後,再輸送到工作站。
色譜分析儀氫火焰離子化檢測器可以作為單檢測器用,亦可作為相互補償的雙檢測器用(如填充柱分析執行程序升溫時)。
注:
1、在沒有接入色譜柱時,不要打開氫氣閥,以免氫氣進入柱箱。儀器關閉時應當先關閉氫氣和空氣,降溫後,再關閉載氣。
2、FID是高靈敏度檢測器,必須用經過淨化的高純度載氣、氫氣和空氣。
3、為了防止檢測器被汙染,柱子老化時最好不要把柱子與檢測器連接,可將檢測 器端用密封螺母封住。
4、通電前檢查電路連接是否完整、正確,氣體種類是否與要求相符合。
警告:在儀器工作時,極化電壓為220~250V高壓,請防止電擊!
警告:即使儀器關閉,極化極上亦有可能保持有高壓存在!請防止電擊!對地放點後方可對其進行操作!
1.5.6油色譜分析儀電子捕獲檢測器(ECD)
ECD是一種離子化檢測器,它是一個有選擇性的高靈敏度檢測器,它隻對具有電負性的物質,如含鹵素等的物質有信號,物質的電負性越強,也就是電子吸收係數越大,檢測器的靈敏度越高,而對電中性(無電負性)的物質,如烷烴等則無信號。
ECD檢測池中封入的放射源(63Ni)產生β放射線,使惰性氣體(N2)離子化,在檢測池的電極上加上脈衝電壓,捕獲電子產生電流。吸收電子能力強的強電負性分子進入池中吸收自由電子,形成負離子。由於帶負電荷的分子比自由電子的移動速度慢,到達正電極的時間長,而且與正離子再結合的概率也增大,使檢測器中的電子密度減小,根據電子數減少的程度相應加上多次脈衝,以保持每個單位時間內電子數形成的電流恒定,則脈衝數的變化與強電負性分子的濃度成正比。ECD裝置示意圖如下:
至工作站
ECD裝置示意圖
警告:操作不當,放射源(63Ni)將會使您的人身遭受傷害,嚴禁不采取專業的保護措施拆卸ECD檢測器!使用中應將廢氣引至室外!
警告:放射源(63Ni)是受嚴格管控材料,嚴禁ECD檢測器做普通廢棄物丟棄!
警告:設備報廢,放射源(63Ni)應返回廠家處理或請有專業資質的廠家回收處理!
1.5.7火焰光度檢測器(FPD)
FPD是一種對含磷、硫化合物有高選擇型、高靈敏度的檢測器。試樣在富氫火焰燃燒時,含磷有機化合物發射出波長為526nm的特征光,含硫化合物發射出波長為394nm的特征光。光電倍增管將光信號轉換成電信號,經微電流放大器記錄下來。FPD有利於痕量磷、硫的分析。
如下圖所示,FPD主要由兩部分組成:火焰部分和光電轉換部分。火焰部分由燃燒器和光室組成。氣相色譜柱流出物和過量氫氣進入燃燒室,與空氣形成了一個擴散富氫火焰,烴類和硫、磷化合物在火焰中分解,並產生複雜的化學反應,發出特征光。硫、磷在火焰上部擴散富氫焰中發光,烴類主要在火焰底部的富氧焰中燃燒,在火焰底部加一不透明的遮光罩擋住烴類幹擾,提高了FPD的選擇性。為了減小光室的體積,在噴嘴上方加玻璃或石英管,以降低檢測器的響應時間常
數。
FPD係統示意圖
右側為光電轉換部分。為了避免火焰中產生的大量水蒸氣、燃燒產物和高溫對光電轉換係統的影響,用石英窗和散熱片將光室和光電係統隔開。FPD不是將所有的光變成電信號,而是用濾光片選擇硫、磷的特征光。
警告:嚴禁在檢測器漏光的情況下打開高壓電源!
1.5.8油色譜分析儀顯示屏與鍵盤
色譜分析儀的顯示屏為192*64漢字液晶顯示屏,鍵盤設計簡潔明了、功能齊全、操作簡單、易學易用。在本資料3.1章節中有詳細介紹。
1.5.9外部事件控製與通信輸出
色譜分析儀的外部事件控製在儀器的內部。控製主板左麵一列為氣路控製輸出(選配EFC、EPC時),右麵一列為外部事件控製輸出;自上而下二個端子為一組。氣路控製輸出分別為:載氣(氮氣)、氫氣、空氣、點火控製;外部事件分別為:事件1、事件2、事件3(或報警輸出)、事件4(或快速降溫控製)輸出。
儀器的通信采用10M/100M自適應以太網接口。信號輸出可以為模擬信號,也可以通過局域網與選配專用工作站通信。
注:
事件3做報警輸出時,是將第3路外部事件時間程序不用(全部清零)。
事件4做快速降溫控製時,是將第4路外部事件時間程序不用(全部清零)。
1.5.10油色譜分析儀電源開關
電源開關為油色譜分析儀的總電源開關。
警告:當打開儀器外殼,可能觸及電氣部分時,應將電源插頭拔離電源!關閉電源開關,儀器內部的部分電路仍有高壓存在!